Views: 0 Author: Site Editor Publish Time: 2025-09-29 Origin: Site
At the China Heat Pump Industry Annual Conference in 2025,Jiangsu TENESUN Thermal Energy's "Remaining Heat Drying and Reduction Project" for Unilever Foods(China) Co., Ltd. was honored the "Best Application Award in Heat Pump Industry" for its innovative application focused on industrial solid waste treatment.
Behind this project, TENESUN Thermal Energy's innovative "waste heat drive + enclosed cycle" technology successfully comes true a perfect balance between environmental protection and efficiency, providing a forceful "TENESUN Solution" for industrial green transformation.
Project Defects: Double Challenges of Cost and Environmental Protection
Unilever Foods(China) Co., Ltd. as a leading global food company, is confronted with the double challenges of high costs and environmental pressures in handling food biochemical sludge generated during daily production.
This sludge,produced an average of 1.8 tons per day, has an initial moisture content of 80% and it is corrosive. Traditional disposal methods cost up to RMB1,000 per ton of sludge for external disposal, resulting in an annual expenditure of approximately RMB657,000. Furthermore, sludge storage and transportation are easy to lead to secondary pollution, placing significant pressure on environmental compliance.
On the other hand, the 80°C waste heat generated by the factory's air compressors is not effectively utilized. Directly discharging it not only wastes energy but also requires additional cooling costs. Traditional sludge drying methods depend on expensive steam (RMB290 per ton), further increasing operating costs.
|
|
TENESUN Solution: Cost Reduction and Environmental Protection
Refer to the defects,TENESUN Thermal Energy provides core solutions.Through technological innovation.It comes true synergistic optimization of costs and environmental protection in sludge treatment.
1. Economic Benefits: Significant Cost Reduction
Sludge treatment costs have been reduced from RMB 1,000/ton to approximately RMB204 /ton, a 79.6% decrease;
The average daily sludge transport volume after drying has been reduced from 1.8 tons (80% moisture content) to 0.6 tons (40% moisture content), significantly reducing transportation costs;
Calculations indicate an annual savings of approximately RMB269,000 in disposal costs.
2. Environmental Benefits: Emission Reduction and Compliance Assurance
The fully enclosed system eliminates exhaust gas emissions, complying with the "Comprehensive Emission Standard for Air Pollutants" (DB 50418-2016);
Low-temperature drying significantly reduces the release of harmful gases such as H2S and NH3, minimizing environmental impact;
Reduced sludge transport volume indirectly reduces transportation carbon emissions, contributing to carbon reduction goals

The realization of the above benefits has origins from TENESUN Thermal Energy's precise understanding of user defects, which has led to a breakthrough in the three core technologies of the unit:

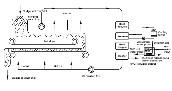
Schematic diagram of a waste heat-based closed-loop sludge drying process
1. Remaining Heat Recycle and Efficient Energy Utilization
The facility innovatively utilizes 80°C waste heat from the air compressor as its core heat source. Only a small amount of saturated steam (approximately one-third the traditional amount) is needed to raise the heat source temperature to 90°C, meeting drying requirements. This design not only converts remaining heat into effective energy, minimizing the environmental impact of heat discharge, but also significantly reduces reliance on expensive steam.
2. Enclosed-Circulation and Environmentally Friendly Design
The facility utilizes a fully enclosed-circulation system, ensuring no gas leakage or exhaust emissions during the drying process. This eliminates odorous emissions at the source and eliminates the need for complex deodorization equipment. Furthermore, the system operates within a low temperature range of 48-56°C (equipment inlet air) and 65-80°C (hot air temperature), minimizing the release of odorous gases such as H2S and NH3, and reducing the risk of secondary pollution.
3. Adaptability and Stability Design
Refer to the corrosive nature of sludge, the main facility is used anti-corrosion materials. The sludge is processed into strips to minimize dust generation and equipment clogging. The unit processes 1.8 tons of sludge with a moisture content of 80% per day and can dry it to a moisture content of ≤40%. The average daily water removal capacity is 1.2 tons, meeting the needs of continuous operation.
Multi Scope Success: TENESUN Never Stops when Supporting Green Transformation.
The success of the Unilever Foods(China) Co., Ltd. project exemplifies TENESUN thermal's dedication to industrial energy conservation and environmental protection. As demonstrated by successful projects such as Jiangsu Kuna Industrial's industrial sludge drying, Jiangsu Tiantan Energy's electroplating sludge reduction and Zhejiang Chemical Sludge Incineration Power Generation, TENESUN Thermal continues to apply its innovative heat pump technology to a wider and more diverse range of industrial scenes.
|
|
|
|
|
|
At the same time,this project also further expanded TENESUN Thermal's sludge drying product portfolio and provided the industry with a uniquely TENESUN-inspired solution.
Replicable Technology Path: This project verified the efficiency and cost-effectiveness of TENESUN's "remaining heat recycle+ enclosed-loop heat pump drying" technology for handling high-humidity industrial solid waste, providing practical experience for reference in the printing& dyeing, paper-making,chemical industries and so on.
Cycled Economy Practice: The project simultaneously comes true the resource utilization of waste heat and the reduction of sludge, vividly demonstrating the efficient recycling of resources within industry.
Expanding Heat Pump Applications: Promoting the application of heat pump technology in industrial pollution and carbon reduction, providing powerful industrial solutions to support the country's "dual carbon" goals.
Empowering Green Transformation: Based on the advanced technology, TENESUN has helped companies like Unilever to achieve progress in environmental compliance, cost reduction and efficiency improvement, providing strong support for the green upgrade of the industry.
In the future,TENESUN Thermal Energy will continue to refine its technology and strive to provide a lot of customers with efficient and reliable heat pump and heat pump system energy solutions, helping them reduce operating costs, improve environmental performance and jointly move towards sustainable development.